Bagaimana cara kerja batang pengukur rel?
A batang pengukur relbekerja dengan menghubungkan dua rel secara fisik untuk menjaga jarak tertentu, mencegahnya menyebar atau miring karena tekanan kereta api. Batang ini biasanya ditempatkan di bagian bawah rel dan sangat penting untuk menjaga stabilitas lintasan, terutama di titik lemah seperti tikungan, belokan, atau area dengan ikatan yang aus. Mereka memberikan stabilitas lateral, memastikan pengukur lintasan tetap berada dalam pengukuran yang benar dan aman untuk mencegah tergelincirnya rel

Bagaimana cara kerja batang pengukur rel?
- Menghubungkan rel:Batang pengukur adalah batang baja yang menghubungkan dua rel paralel di bagian bawah.
- Mempertahankan ukuran:Ini mencegah rel menyebar ke luar karena gaya lateral yang diberikan oleh kereta api. Hal ini sering dilakukan dengan menggunakan gaya tarik pada batang, yang menarik rel ke arah satu sama lain.
- Meningkatkan stabilitas:Dengan menahan rel pada tempatnya, hal ini secara signifikan meningkatkan stabilitas lateral lintasan, sehingga mengurangi kemungkinan miring atau tertekuk.
- Memperkuat titik lemah:Batang pengukur paling sering digunakan di area kritis di mana lintasan lebih rentan terhadap pergerakan, seperti tikungan tajam, tikungan tajam, atau bagian yang memiliki{0}}kesamaan berkualitas rendah.

Batang Pengukur Jalur Kereta ApiSpesifikasi
- Aplikasi: rel 43, 50, 60, 75kg/m
- Suhu kerja: -40~60 derajat Celcius
- Standar: TB/T1780-86
- Panjang: 600mm, 762mm, 900mm, 1435mm, dll.

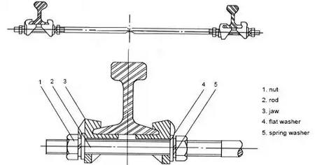
| TIDAK. | Bagian | Kuantitas | Spesifikasi | Bahan |
| 1 | kacang | 4 | M30 M36 | 3# |
| 2 | batang | 1 | M30 M36 | 3# |
| 3 | rahang besi | 4 | Saya tipe II tipe | KTH350-10 |
| 4 | mesin cuci datar | 4 | M30 M36 | 3# |
| 5 | mesin cuci musim semi | 4 | M30 M36 | 65Mn |
Menurut jenis lintasan yang berbeda, batang pengikat pengukur dapat dibagi menjadi: tipe 8kg/m, tipe 12kg/m, tipe 15kg/m, tipe 18kg/m, tipe 22kg/m, tipe 24kg/m, tipe 30kg/m, tipe 38kg/m, tipe 43kg/m, tipe 50kg/m, tipe 60kg/m yang digunakan untuk rel sakelar.
Menurut jumlah jumlah pemilih yang berbeda, batang pengikat pengukur dapat dibagi menjadi: Tipe Tanpa. 2, Tipe Tanpa. 3, Tipe Tanpa. 4, Tipe Tanpa. 5, Tipe Tanpa. 6, Tipe Tanpa. 7, Tipe Tanpa. 8, Tipe No.9, Tipe Tanpa. 12 yang digunakan untuk jumlah pemilih.
Jika Anda memiliki persyaratan khusus untuk dimensi atau material berkekuatan lebih tinggi, silakanHubungi kamiuntuk produksi khusus khusus.

